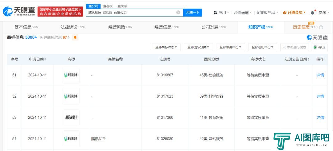
腾讯申请注册腾讯AI助手商标
每经AI快讯,天眼查知识产权信息显示,近日,腾讯科技(深圳)有限公司申请注册多枚“腾讯AI助手”商标,国际分类包含社会服务、广告销售、网站服务等,当前商标状态均为等待实质审查。
据悉,今年5月,腾讯发布基于混元大模型的面向C端的ai助手“腾讯元宝”,其提供了AI搜索、AI总结、AI写作等核心能力。

-
腾讯申请注册腾讯AI助手商标
每经AI快讯,天眼查知识产权信息显示,近日,腾讯科技(深圳)有限公司申请注册多枚“腾讯AI助手”商标,国际分类包含社会服务、广告销售、网站服务等,当前商标状态均为等待实质审查。 据悉,今年5月,腾讯发布基
2025-06-02 08:37:21 -
AI向技术临界点加速,未来的世界会是什么模样?
在最新出版的《奇点更近》一书中,未来学家库兹韦尔勾勒出一幅壮丽的图景:人类将与人工智能(AI)“融合”,开启奇妙的旅程,包括思维能力爆炸式增长、创造力爆棚,疾病、衰老等一系列愁人的问题也能逐步得到解决
2025-06-02 08:13:21 -
人工智能社交网络ViVi.AI运营总部落户香港
人工智能多模态社交网络ViVi AI运营总部落户香港仪式15日在港举行,逾百名海内外科技、政商、学术界及创投金融机构人士出席。 香港中小上市公司协会主席席春迎致辞时表示,项目选择落户香港,是对香港营商环境以
2025-06-02 07:49:21 -
AI进化撞上“数据墙”?三大模型研发遇阻,巨头纷纷转向新赛道
人工智能(AI)的发展一直建立在这样的信念之上:训练数据规模越大,模型就会越来越好。然而,业界近期曝出了大模型进化遭遇“数据墙”的消息。 据外媒报道,OpenAI、谷歌和Anthropic在AI模型开发方面都陷入了
2025-06-02 07:25:21 -
首届中医人工智能高质量发展论坛开幕
11月16日,首届中医人工智能高质量发展论坛在北京开幕。本次论坛由中国中医科学院中医药信息研究所与问止中医人工智能联合实验室共同举办。 中国中医科学院中医药信息研究所党委书记王映辉致辞中,既回顾了中医
2025-06-02 07:01:21 -
人工智能能否像人类一样具有创造力?
人工智能(AI)能否像人类一样具有创造力?为了帮助观众更好地理解人机关系和回溯人工智能与艺术结合的历史进程,自11月15日起,Creative Machine的中国首展“跨越六十年:人工智能的创意之火”在泰康美术馆启幕。
2025-06-01 14:36:55
-
Stability AI发布自家最强文生图模型Stable Diffusion 3!提示文本理解更好,图像质量更强
2月23日,著名大模型开源平台stability ai在官网推出了——Stable Diffusion 3 该版本与Stable Diffusion 2相比,在文本语义理解、色彩饱和度、图像构图、分辨率、类型、质感、对比度等方面大幅度增强,可对标闭源模型Midjourney。
2025-02-12 12:54:57 -
阿里云通义千问上线AIGC春节新玩法:AI帮你免费拍摄全家福,AI舞蹈视频生成器“全民舞王”新增春晚舞蹈
春节将至年味渐浓,阿里云通义千问APP上线多项免费新应用,涵盖全家福、拜新年、万物成龙等图像生成的新玩法。
2025-02-13 15:39:26 -
AI动漫视频生成_yoyo官方网站_yoyo功能及介绍
视频生成赛道又起新秀,而且还是二次元定制版!稳定产出电影级画面,一键文 图生成视频,即使是「手残党」也能复刻自己喜欢的动漫作品了。
2025-01-16 11:53:08 -
虚晃一枪:马斯克xAI喜获60亿美元融资,放弃起诉OpenAI
当地时间6月11日,据CNBC报道,马斯克已经从加州法院撤回了今年3月对OpenAI以及公司CEO奥特曼等人的司法诉讼。
2025-01-20 12:46:30 -
Music To Image音生图工具是什么_AI音频生成图像工具有哪些_AI音生图工具有哪些_Music To Image怎么用
「Music To Image」是一款AI音频生成图片的多模态转换工具,它的本质生成逻辑是音频→文本提示词→图像。
2024-12-17 00:06:33 -
OpenAI大杀器SearchGPT横空出世,将单挑谷歌千亿美元搜索帝国!
OpenAI真来撼动谷歌的搜索帝国了?深夜悄悄上线的AI搜索引擎产品——SearchGPT,在同一问题的演示上,直接原地吊打谷歌和Perplexity。谷歌的AI Overview没做到的「重塑搜索引擎」,会让OpenAI达成吗?
2025-01-10 14:59:24 -
WAIC落幕:国产大模型大厂拼落地,中厂显焦虑丨月之暗面上线Kimi浏览器插件丨中国是AI论文发表最多的国家
【AI奇点网2024年7月9日早报】本站每日播报AI业界最新资讯,触摸时代脉搏,掌握未来科技动向。事不宜迟,点击查看今日AI资讯早餐。
2025-01-16 10:10:48 -
OpenAI重磅升级定档5月13日,CEO奥特曼暗示会有「魔法」效应,但GPT-5至少要等到年底
OpenAI终于要放大招了!官宣定档下周一线上直播,预计发布全新AI语音助手,还有ChatGPT、GPT-4一系列更新。奥特曼澄清,没有GPT-5,也没有搜索引擎!
2025-01-27 13:30:46 -
谷歌产品大更新:Bard可生成图像;文生音乐平台等5大免费功能
2月2日,谷歌在官网对生成式AI产品进行了大更新,包括类ChatGPT聊天助手Bard可以通过文本提示生成图像;
2025-02-14 12:32:50 -
微信AI平台赋能中小企业:推出微信对话开放平台打造AI客服机器人,PC桌面机器人“小微助手”上线
微信 AI 团队在微信公开课 PRO 上分享了微信对话开放平台的最新能力升级和解决方案,这是微信首次对外公布旗下 AIGC 大模型应用落地的策略。
2025-02-17 16:40:44















